C500WS Dishwasher Spare Parts Drawings
C500WS Dishwasher Spare Parts Drawings
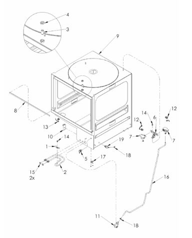
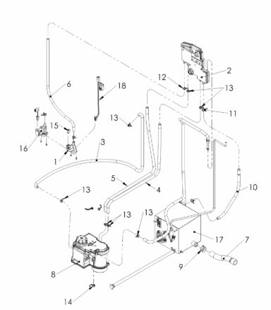
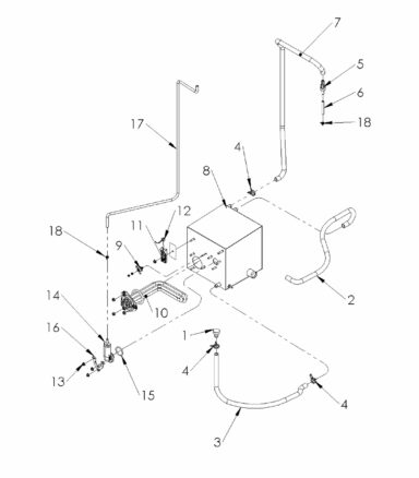
The Classeq C500WS Dishwasher Spare Parts & Drawings page offers detailed exploded diagrams and parts lists for every component of the Classeq C500WS undercounter dishwasher — including wash arms, pumps, filters, seals, tank assemblies, and electronic modules. These technical schematics help service technicians and maintenance teams to accurately identify and source the correct genuine Classeq parts, reducing downtime and ensuring reliable performance.


























































































































