D400 DUO Spare Parts Drawings
D400 DUO Spare Parts Drawings
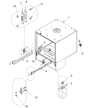
The Classeq D400 Duo Spare Parts & Drawings page provides exploded-view diagrams and detailed parts lists for all major components of the D400 DUO undercounter dishwasher — including wash arms, pumps (drain, rinse booster), filters, detergents and rinse-aid dosing pumps, seals, control electronics, and structural assemblies. These schematics help maintenance technicians and service teams accurately identify genuine Classeq replacement parts to keep the machine running reliably.


























































































































